МСО 750
предназначена для контактной стыковой сварки изделий компактного сечения из низкоуглеродистых и низколегированных сталей, а также арматуры железобетона IV, V классов. Машина позволяет сделать безотходным процесс заготовки металлопроката.


Профиль свариваемого металлопроката может быть различной формы с допустимой для этой машины площадью поперечного сечения. Например, это может быть круг, квадрат, уголок, профильная или обычная труба и т.п. После выбора профиля свариваемого сечения к сварочной машине поставляется необходимая для него оснастка.
Машина обеспечивает три вида сварки:автоматическую сварку методом непрерывного оплавления изделий сечением от 100 до 1250 мм2;автоматическую сварку спредварительным подогревом концов свариваемых изделий сечением до 2800 мм2.автоматическую сварку методом пульсирующего оплавления до 2800 мм2.Максимальное свариваемое сечение из низкоуглеродистой стали соответствует диаметру 60 мм. Машина оснащается микропроцессорной системой управления с функциями допускового контроля сварочного процесса с возможностью паспортизации каждого сваренного стыка. Возможно оснащение машины гидравлической станции автономной системой охлаждения.
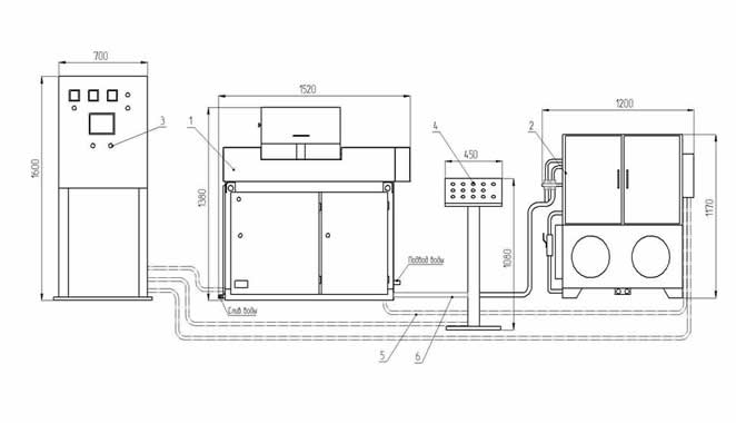
В состав машины входят:
1. Сварочное устройство
2. Станция гидравлическая
3. Шкаф и пульт управления
Конструкция машины предусматривает ручную установку и снятие свариваемых заготовок в случае их не большой длины и продвижение по дополнительным устройствам перемещения при неограниченной длине свариваемых заготовок.
Сварочный процесс осуществляется автоматически.
В МСО-750 предусмотрена возможность срезки грата на деталях после сварки, что существенно облегчает и делает более качественным и быстрым заготовительный процесс.
Процесс сварки происходит следующим образом:
На панели шкафа управления задаются необходимые параметры сварки.
На переключателе ступеней трансформатора включается необходимая ступень вторичного напряжения согласно таблице переключения ступеней.
Устанавливаются и зажимаются заготовки.
Запускается программа цикла сварки.
Сваренное изделие снимается или перемещается вдоль своей оси для подачи к отрезному устройству на необходимую длину.
При сварке заготовок одинакового сечения и материала устанавливаются и зажимаются новые заготовки и вновь запускается цикл сварки.
Технические характеристики МСО 750 приведены в таблице.
№ п/п |
Наименование параметра |
Значение |
1 |
Номинальное напряжение питающей сети, В |
380 |
2 |
Частота питающей сети, Гц |
50 |
3 |
Номинальный длительный вторичный ток, кА |
9 |
4 |
Наибольший вторичный ток, кА |
52 |
5 |
Мощность при ПВ=50%, кВА |
97 |
6 |
Наибольшая мощность при коротком замыкании, кВА, не более |
425 |
7 |
Число ступеней регулирования вторичного напряжения сварочного трансформатора |
16 |
8 |
Пределы регулирования вторичного напряжения, В |
4,05-8,1 |
9 |
Свариваемое сечение, мм2 |
|
из низкоуглеродистой стали |
100...2800 |
|
из низколегированной стали |
100…1250 |
|
арматурной стали IV, V классов |
100…500 |
|
10 |
Диапазон свариваемых диаметров, мм |
|
из низкоуглеродистой стали (AI) |
10…60 |
|
из низколегированной стали (AII, AIII) |
10…40 |
|
арматурной стали IV, V классов |
10…25 |
|
11 |
Наибольшая кратковременная производительность, сварок/ч, не менее |
200 |
12 |
Привод зажатия |
Гидравлический |
13 |
Привод осадки |
Гидравлический |
14 |
Номинальное усилие осадки, кН |
75 |
15 |
Габаритные размеры машины, мм ДхШхВ |
1370х1060х1400 |
Масса машины, кг, не более |
1780 |
|
16 |
Габаритные размеры гидростанции, мм ДхШхВ |
706х1164х1130 |
Масса гидростанции, кг, не более |
700 |
|
17 |
Габаритные размеры ШУ, мм ДхШхВ |
400х700х1600 |
Масса ШУ, кг, не более |
80 |
|
18 |
Габаритные размеры ПУ, мм ДхШхВ |
600х450х1080 |
Масса ПУ, кг, не более |
30 |